


  TGL型尼龍內齒圈鼓形齒式聯(lián)軸器為國標型號,我廠生產的另一種尼龍內齒圈聯(lián)軸器為NL型尼龍內齒圈鼓形齒式聯(lián)軸器.
● 尼龍內齒圈齒聯(lián)軸器其內齒圈材料采用MC尼龍材料,外齒軸套采用45號鍛鋼,具有尺寸小、重量輕、轉動慣量小、噪音小、裝拆方便、不用潤滑等優(yōu)點,可應用于中小轉矩的工況環(huán)境,例如風機、水泵、潤滑泵、紡織機械等。
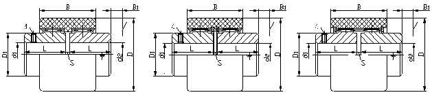
●TGL型鼓形齒尼龍齒圈聯(lián)軸器有以下三種結構型式: 
A---型基本型: B---型內擋圈型: C---型外擋圈
型

| 
             型號 
             | 
            
             公稱轉矩 Tn /N·m 
             | 
            
             許可轉速[n] /r·min-1 
             | 
            
             軸孔直徑 d1、d2 
             | 
            
             軸孔長度 L J1 
             | 
            
             D 
             | 
            
             D1 
             | 
            
             B 
             | 
            
             B1 
             | 
            
             S 
             | 
            
             d 
             | 
            
             質量m/kg 
             | 
            
             轉動慣量I 
            /kg·m2  | 
        |||||
| 
             A型 
            B型  | 
            
             C型 
             | 
            
             A型 
            B型  | 
            
             C型 
             | 
            
             A型 
            B型  | 
            
             C型 
             | 
            
             A型 
            B型  | 
            
             C型 
             | 
            
             A型 
            B型  | 
            
             C型 
             | 
        ||||||||
| 
             TGLA1 
            TGLB1  | 
            
             10 
             | 
            
             10000 
             | 
            
             6、7 
             | 
            
             16 
             | 
            
             40 
             | 
            
             - 
             | 
            
             25 
             | 
            
             38 
             | 
            
             - 
             | 
            
             17 
             | 
            
             - 
             | 
            
             4 
             | 
            
             - 
             | 
            
             0.2 
             | 
            
             - 
             | 
            
             0.00003 
             | 
            
             - 
             | 
        
| 
             8、9 
             | 
            
             20 
             | 
            
             M5 
             | 
        |||||||||||||||
| 
             10、11 
             | 
            
             22 
             | 
        ||||||||||||||||
| 
             12、14 
             | 
            
             27 
             | 
        ||||||||||||||||
| 
             TGLA2 
            TGLB2  | 
            
             16 
             | 
            
             9000 
             | 
            
             8、9 
             | 
            
             20 
             | 
            
             48 
             | 
            
             - 
             | 
            
             32 
             | 
            
             38 
             | 
            
             - 
             | 
            
             17 
             | 
            
             - 
             | 
            
             4 
             | 
            
             M5 
             | 
            
             0.278 
             | 
            
             - 
             | 
            
             0.00006 
             | 
            
             - 
             | 
        
| 
             10、11 
             | 
            
             22 
             | 
        ||||||||||||||||
| 
             12、14 
             | 
            
             27 
             | 
        ||||||||||||||||
| 
             16、18、19 
             | 
            
             30 
             | 
        ||||||||||||||||
| 
             TGLA3 
            TGLB3 TGLC3  | 
            
             31.5 
             | 
            
             8500 
             | 
            
             10、11 
             | 
            
             22 
             | 
            
             56 
             | 
            
             58 
             | 
            
             36 
             | 
            
             42 
             | 
            
             52 
             | 
            
             19 
             | 
            
             - 
             | 
            
             4 
             | 
            
             M5 
             | 
            
             0.482 
             | 
            
             0.533 
             | 
            
             0.00012 
             | 
            
             0.00015 
             | 
        
| 
             12、14 
             | 
            
             27 
             | 
            
             24 
             | 
        |||||||||||||||
| 
             16、18、19 
             | 
            
             30 
             | 
        ||||||||||||||||
| 
             20、22、24 
             | 
            
             38 
             | 
        ||||||||||||||||
| 
             TGLA4 
            TGLB4 TGLC4  | 
            
             45 
             | 
            
             8000 
             | 
            
             12、14 
             | 
            
             27 
             | 
            
             66 
             | 
            
             70 
             | 
            
             45 
             | 
            
             46 
             | 
            
             - 
             | 
            
             21 
             | 
            
             26 
             | 
            
             4 
             | 
            
             M8 
             | 
            
             0.815 
             | 
            
             0.869 
             | 
            
             0.00033 
             | 
            
             0.0004 
             | 
        
| 
             16、18、19 
             | 
            
             30 
             | 
            
             56 
             | 
        |||||||||||||||
| 
             20、22、24 
             | 
            
             38 
             | 
        ||||||||||||||||
| 
             25、28 
             | 
            
             44 
             | 
        ||||||||||||||||
| 
             TGLA5 
            TGLB5 TGLC5  | 
            
             63 
             | 
            
             7500 
             | 
            
             14 
             | 
            
             27 
             | 
            
             75 
             | 
            
             85 
             | 
            
             50 
             | 
            
             48 
             | 
            
             - 
             | 
            
             22 
             | 
            
             27 
             | 
            
             4 
             | 
            
             M8 
             | 
            
             1.39 
             | 
            
             1.52 
             | 
            
             0.00072 
             | 
            
             0.00088 
             | 
        
| 
             16、18、19 
             | 
            
             30 
             | 
            
             58 
             | 
        |||||||||||||||
| 
             20、22、24 
             | 
            
             38 
             | 
        ||||||||||||||||
| 
             25、28 
             | 
            
             44 
             | 
        ||||||||||||||||
| 
             30、32 
             | 
            
             60 
             | 
        ||||||||||||||||
| 
             TGLA6 
            TGLB6 TGLC6  | 
            
             80 
             | 
            
             6700 
             | 
            
             16、18、19 
             | 
            
             30 
             | 
            
             82 
             | 
            
             90 
             | 
            
             58 
             | 
            
             48 
             | 
            
             58 
             | 
            
             22 
             | 
            
             27 
             | 
            
             4 
             | 
            
             M8 
             | 
            
             2.02 
             | 
            
             2.15 
             | 
            
             0.0012 
             | 
            
             0.0015 
             | 
        
| 
             20、22、24 
             | 
            
             38 
             | 
        ||||||||||||||||
| 
             25、28 
             | 
            
             44 
             | 
        ||||||||||||||||
| 
             30、32、35、38 
             | 
            
             60 
             | 
        ||||||||||||||||
| 
             TGLA7 
            TGLB7 TGLC7  | 
            
             100 
             | 
            
             6000 
             | 
            
             20、22、24 
             | 
            
             38 
             | 
            
             92 
             | 
            
             100 
             | 
            
             65 
             | 
            
             50 
             | 
            
             60 
             | 
            
             23 
             | 
            
             28 
             | 
            
             4 
             | 
            
             M8 
             | 
            
             3.01 
             | 
            
             3.14 
             | 
            
             0.0024 
             | 
            
             0.0027 
             | 
        
| 
             25、28 
             | 
            
             44 
             | 
        ||||||||||||||||
| 
             30、32、35、38 
             | 
            
             60 
             | 
        ||||||||||||||||
| 
             40、42 
             | 
            
             84 
             | 
        ||||||||||||||||
| 
             TGLA8 
            TGLB8 TGLC8  | 
            
             140 
             | 
            
             5600 
             | 
            
             22、24 
             | 
            
             38 
             | 
            
             100 
             | 
            
             100 
             | 
            
             72 
             | 
            
             50 
             | 
            
             60 
             | 
            
             23 
             | 
            
             28 
             | 
            
             4 
             | 
            
             M8 
             | 
            
             4.06 
             | 
            
             4.18 
             | 
            
             0.0037 
             | 
            
             0.0039 
             | 
        
| 
             25、28 
             | 
            
             44 
             | 
        ||||||||||||||||
| 
             30、32、35、38 
             | 
            
             60 
             | 
        ||||||||||||||||
| 
             40、42、45、48 
             | 
            
             84 
             | 
        ||||||||||||||||
| 
             TGLA9 
            TGLB9 TGLC9  | 
            
             355 
             | 
            
             4000 
             | 
            
             25、28 
             | 
            
             44 
             | 
            
             140 
             | 
            
             140 
             | 
            
             96 
             | 
            
             72 
             | 
            
             85 
             | 
            
             34 
             | 
            
             41 
             | 
            
             4 
             | 
            
             M10 
             | 
            
             8.25 
             | 
            
             8.51 
             | 
            
             0.0155 
             | 
            
             0.0166 
             | 
        
| 
             30、32、35、38 
             | 
            
             60 
             | 
        ||||||||||||||||
| 
             40、42、45、48、50、55、56 
             | 
            
             84 
             | 
        ||||||||||||||||
| 
             60、63、65、70 
             | 
            
             107 
             | 
        ||||||||||||||||
| 
             TGLA10 
            TGLB10 TGLC10  | 
            
             710 
             | 
            
             3150 
             | 
            
             30、32、35、38 
             | 
            
             60 
             | 
            
             175 
             | 
            
             175 
             | 
            
             128 
             | 
            
             95 
             | 
            
             95 
             | 
            
             45 
             | 
            
             45 
             | 
            
             6 
             | 
            
             M10 
             | 
            
             16.92 
             | 
            
             17.1 
             | 
            
             0.052 
             | 
            
             0.0535 
             | 
        
| 
             40、42、45、48、50、55、56 
             | 
            
             84 
             | 
        ||||||||||||||||
| 
             60、63、65、70、71、75 
             | 
            
             107 
             | 
        ||||||||||||||||
| 
             80、85 
             | 
            
             132 
             | 
        ||||||||||||||||
